세이브 바이브로 리퍼는 소음으로 시끄러웠던 작업현장의 환경을
좀 더 조용하게 작업을 할 수 있는 기능을 갖춘 친환경적 파쇄용 진동 브레이커 입니다.
최소의 소음(90db이하)
브레이커 대비 높은 작업효율
고연비 효과
친환경적 작업
자유로운 수중작업
간편한 유지관리
사용중 윤활급유 불필요
경제적 내마모성 투스 적용
최적의 설계로 간편한 정비
기본라인구성
굴삭기의 고압라인, 저압라인, 드레인라인은 전기종 공통이며, 드레인라인의 용도는
모터를 보호하기 위하여 필요하므로 반드시 설치를 하고 사용하여여 함.
INPUT LINE(고압) : VIBRO-RIPPER를 작동하기 위해 유압모터에 오일을 공급해주는 유압 공급라인으로 적정 압력과 유량을 사용하여야 함
OUTPUT LINE(저압) : 유압모터를 구동시킨 오일이 빠져나가는 라인이며, 오일탱크로 연결되어 있어야함
DRAIN LINE(드레인) : 유압모터를 구동시키면서 OUT LINE으로 빠져 나가지 못한 압력과 오일을 배출시켜 모터를 보호하는 라인
(반드시 설치후 사용하여야 함)
Ⓣ 오일탱크 : 굴삭기의 작동오일이 저장되는 용기
세이브 VIBRO-RIPPER는 암반, 콘크리트, 아스팔트, 터널굴착,
석산채석, 수중작업 등 모든 건설현장에 적용 가능한 신개념의 파쇄용 브레이커 입니다
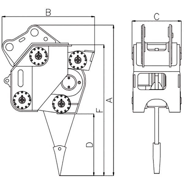
| Description | Unit | SVR15H | SVR20H | SVR30H | SVR40H | SVR50H | |
|---|---|---|---|---|---|---|---|
| Weight | kg | 1,600 | 2,500 | 3,150 | 4,600 | 5,600 | |
| Flow | ℓ/m | 100~120 | 170~190 | 180~200 | 200~220 | 250~260 | |
| Pressure | bar | 180~200 | 210~220 | 240~250 | 240~250 | 240~250 | |
| Frequency | rpm | 1,500 | 1,500 | 1,400 | 1,300 | 1,200 | |
| Dimension | A | mm | 1,650 | 2,420 | 2,720 | 3,150 | 3,300 |
| B | mm | 870 | 1,480 | 1,510 | 1,940 | 2,010 | |
| C | mm | 500 | 780 | 840 | 1,040 | 1,040 | |
| D | mm | 750 | 990 | 1,150 | 1,350 | 1,490 | |
| F | mm | 1,350 | 2,100 | 2,400 | 2,760 | 2,900 | |
| Application Excavator | ton | 12~16 | 18~26 | 22~30 | 28~39 | 38~55 | |
Address. 20, Sincheon-ro 43beon-gil,
Siheung-si, Gyeonggi-do, Korea
Tel. +82-31-404-5531
Fax. +82-31-404-5532
E-Mail. breakerno2@hanmail.net